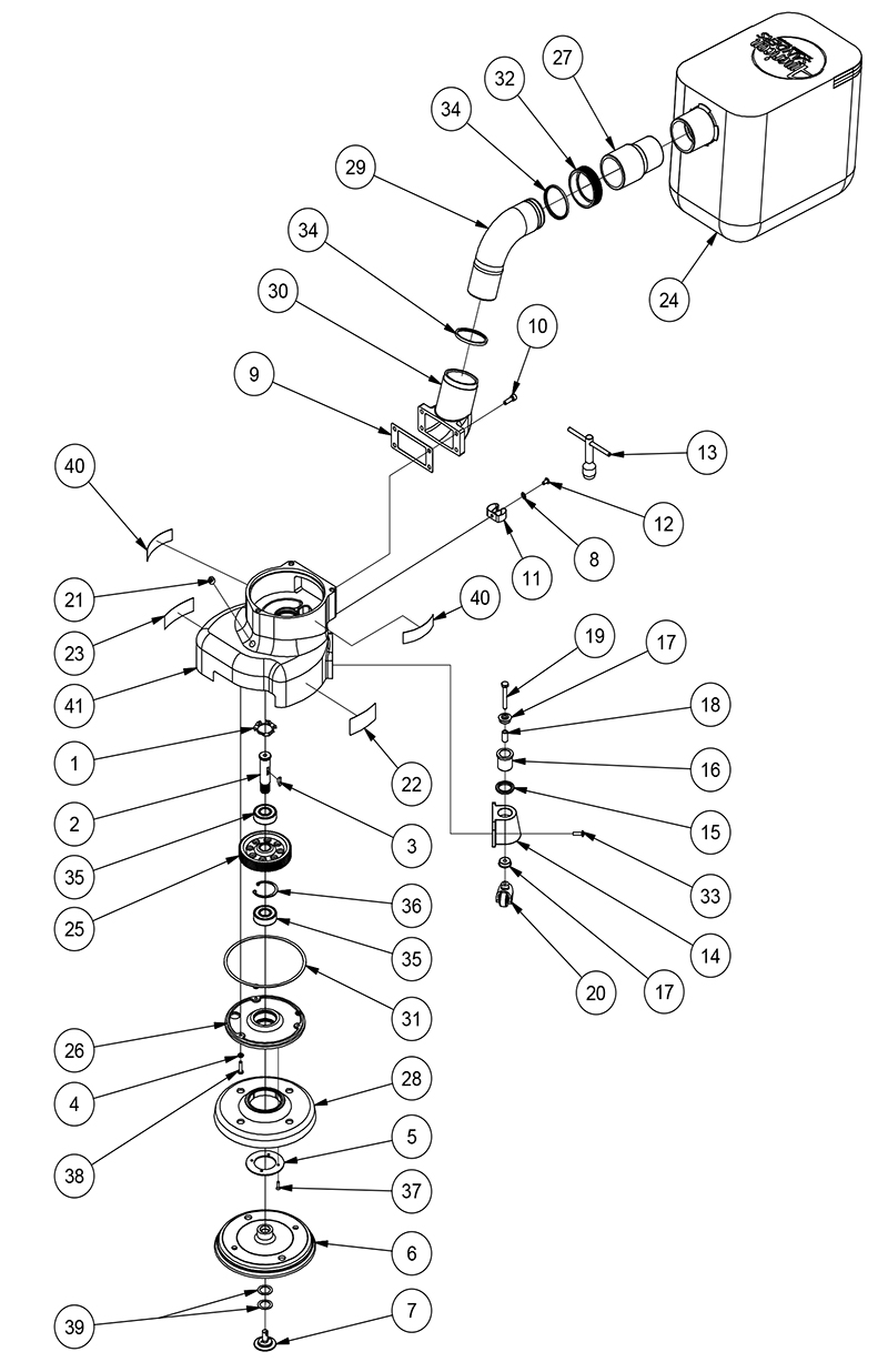
To purchase parts for the Super 7R edger (Lower Assembly):
- Reference the part needed from the parts diagram and refer to the parts list below.
- Copy the Part Number and paste it into the search window above to see availability and pricing.
- Confirm your parts selection and "Add To Cart".

| ITEM | QTY | PART NUMBER | DESCRIPTION | ITEM | QTY | PART NUMBER | DESCRIPTION |
| 1 | 1 | 318303 | SPRING, LOAD, 76 | 26 | 1 | 302306 | COVER, GR HOUSING ASM. |
| 2 | 1 | 307702 | SHAFT, DRIVE, GEAR | 27 | 1 | 30563A | 2" X 1.50" HOSE ADAPTOR |
| 3 | 1 | 915028 | KEY, 1/8 X 5/8, WDRF 5 | 28 | 1 | 293616 | GUARD, DISC, S7A/R (07125A & 07013A) |
| 4 | 3 | 87609A | WASHER, SEAL, 10, NEOPRENE/STEEL | 29 | 1 | 61564A | TUBE EXHAUST S-7 |
| 5 | 1 | 317204 | DISC, GUARD, RETAINER | 30 | 1 | 21077A | ADAPTOR, EXHAUST, SUPER-7 (07125A & 07013A) |
| 6 | 1 | 21066A | DISC, SANDING, S-7R | 31 | 1 | 34232A | GASKET, GEAR CASE COVER |
| 7 | 1 | 960125 | CLAMP, ABRASIVE, S-7R | 32 | 1 | 80276A | NUT, SLIPJOINT, 2 X 2 |
| 8 | 2 | 980603 | WASHER, LK 10 EXT TOOTH | 33 | 4 | 962109 | SCREW, 10-24 X 5/8, PN, SS |
| 9 | 1 | 293406 | GASKET, EXHAUST, BRKT 95 | 34 | 2 | 30613A | SEAL, PIPE, S-7 & B-2 EDGERS |
| 10 | 4 | 962289 | SCREW, 1/4-20 X 3/4 SOCKET HD | 35 | 2 | 902550 | BEARING, BALL, 6203 |
| 11 | 1 | 302101 | CLIP, STEEL | 36 | 1 | L067304 | RING, RETAINING, R042 |
| 12 | 1 | 962987 | SCREW, 10-24 X 3/8 PN ST TYP 23 | 37 | 4 | 962974 | SCREW, 6-32 X 1/2, FH, ST, PH |
| 13 | 1 | 987300 | WRENCH, PAPER CLAMP SCREW | 38 | 3 | 84808A | SCREW, 10-24 X 3/4, RD, SZ, PH |
| 14 | 2 | 310803 | BRACKET, CASTER SUPPORT (07125A & 07013A) | 39 | 2 | 980088 | WASHER, 94, BE7 |
| 15 | 2 | 920670 | NUT, LOCK, ADJUST | 40 | 2 | 70823A | LABEL, HDTR, 1.3 X 3 (07013A & 07013B) |
| 16 | 2 | 960130 | SCREW, SWIVEL, CASTER | 41 | 1 | 304204 | HOUSING, GEAR (07125A & 07013A) |
| 17 | 4 | 50740A | BEARING, BALL, 1/4 X 3/4, SHIELD | 1 | 10827A | EXHAUST CONVERSION KIT S-7R | |
| 18 | 2 | 298215 | COLLAR, SPACING | 1 | 30666A | WHEEL & YOKE URETHANE EDGERS | |
| 19 | 2 | 85702A | SCR 1/4-20 X 1 3/4 HX ST CAP | 1 | AS035800 | CASE, EDGER, SUPER 7R | |
| 20 | 2 | 10212A | WHEEL & YOKE ASM. | 1 | 38728A | DISC CONV HOOK 6-7/8 10ea/BX | |
| 21 | 1 | 316804 | PLUG, PIPE, 77E17 | 1 | AS017300 | GUARD, DISC, PLASTIC (07013B) | |
| 22 | 1 | 56380216 | DECAL, POWER TOOL CAUTIONARY | 1 | AS017900 | HOUSING, GEAR, HAMMERTONE (07013B) | |
| 23 | 1 | 56380639 | DECAL, PROP 65 | 1 | AS018900 | EXHAUST, ADAPTOR, POWERDERCOAT (07013B) | |
| 24 | 1 | 53544B | BAG, EDGER | 1 | AS019000 | BRACKET, CASTER SUPPORT, POWDERCOAT (07013B) | |
| 25 | 1 | 303502 | GEAR, DRIVE |