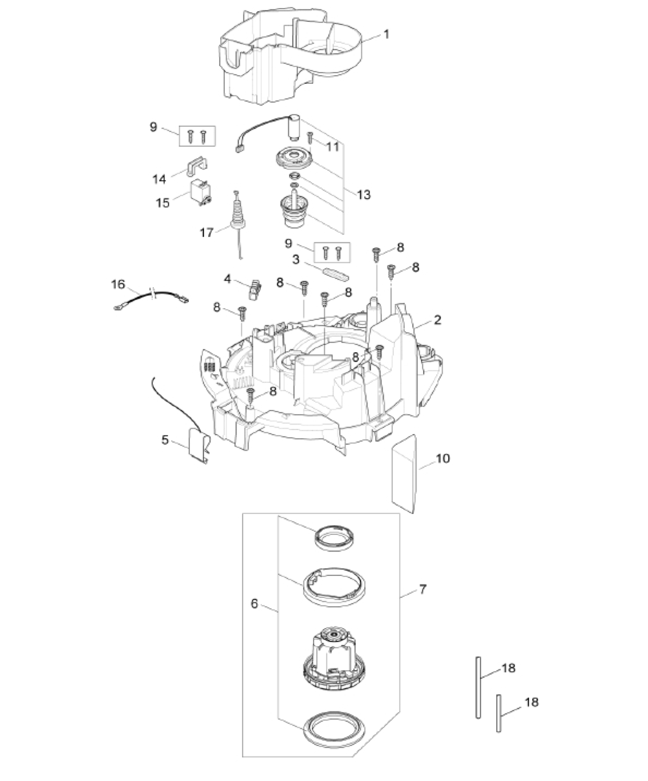
To purchase parts for the CAV 8 Vacuum (Motor Assembly):
- Reference the part needed from the parts diagram and refer to the parts list below.
- Copy the Part Number and paste it into the search window above to see availability and pricing.
- Confirm your parts selection and "Add To Cart".
Item | Part Number | QTY | Description | Item | Part Number | QTY | Description | |
1 | 302004015 | 1 | AIRGUIDE-ATTIX 30/50 | 10 | 302004045 | 1 | INSULATION-ATTIX 30/50 | |
2 | 107400287 | 1 | CLAMP PLATE-ATTIX 30/50 XC | 11 | 302003319 | 3 | SCHRAUBEN ATTIX/IVB 9 SET-01 | |
3 | 302004030 | 1 | STRAP FOR CABLE | 13 | 107400292 | 1 | SOLENOID-110V ATTIX 50 XC | |
4 | 302004031 | 1 | DISTRIBUTION STRIP 6-POL 16A | 14 | 107400289 | 1 | SERVO BRACKET | |
5 | 302004023 | 1 | CONTACT SPRING-ATTIX 30/50 | 15 | 107400290 | 1 | MOTOR-SERVO ATTIX 50 XC | |
6 | 302003385 | 1 | SEALING KIT-ATTIX 30/50 | 16 | 107400262 | 1 | WIRE 1X200 YELLOW/GREEN | |
7 | 302003388 | 1 | MOTOR 1000W 120V ATTIX 30/50**USE 107417417** | 17 | 107400276 | 1 | WIRE-SERVO ATTIX 50 XC | |
8 | 302004029 | 1 | SCREW 5X18 | 18 | 107400309 | 2 | HOSE D3X1.5 TURBINE SIDE XC | |
9 | 302004032 | 1 | SCREW 3.5X18 |