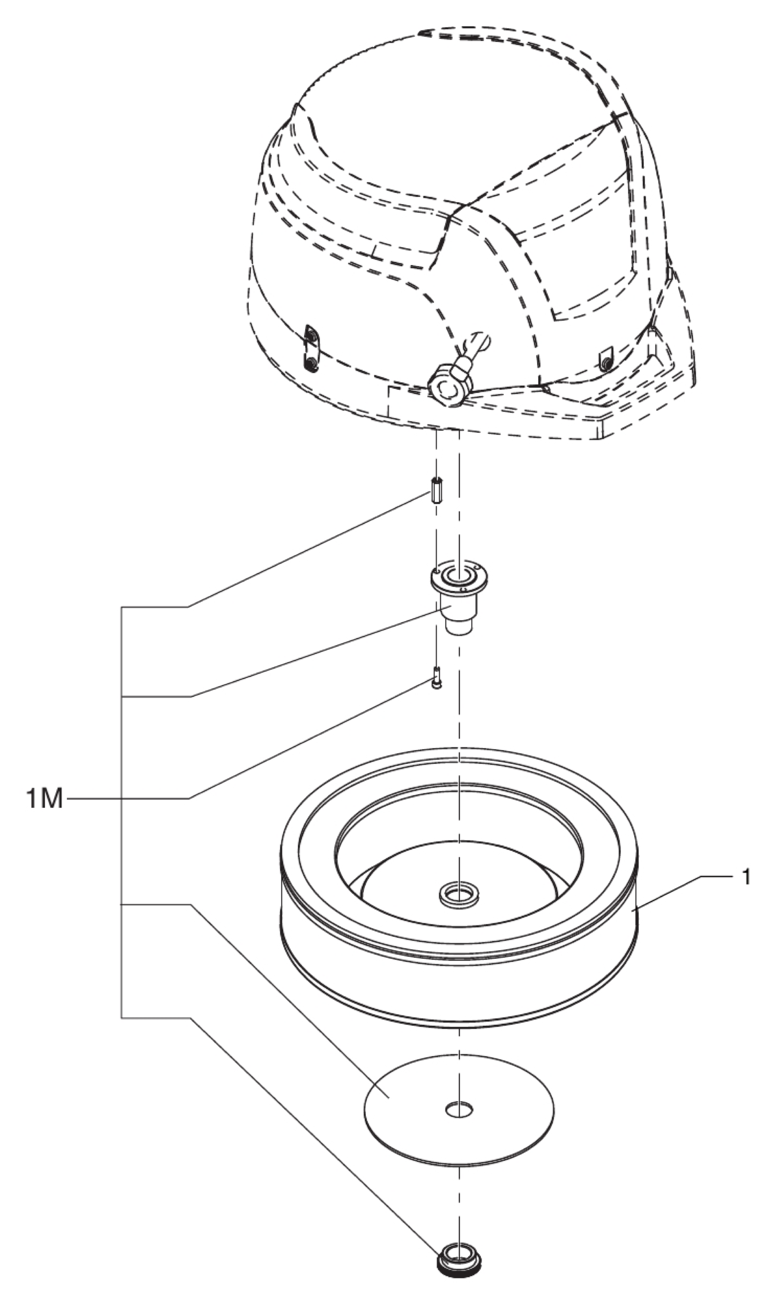
To purchase parts for the CAV 50 Vacuum (Filter Assembly):
- Reference the part needed from the parts diagram and refer to the parts list below.
- Copy the Part Number and paste it into the search window above to see availability and pricing.
- Confirm your parts selection and "Add To Cart".

| Item | Part Number | QTY | Description |
| 1 | 4081700935 | 1 | FILTER |
| 1M | 40000897 | 1 | KIT ABSOLUTE FILTER SUPPORT |