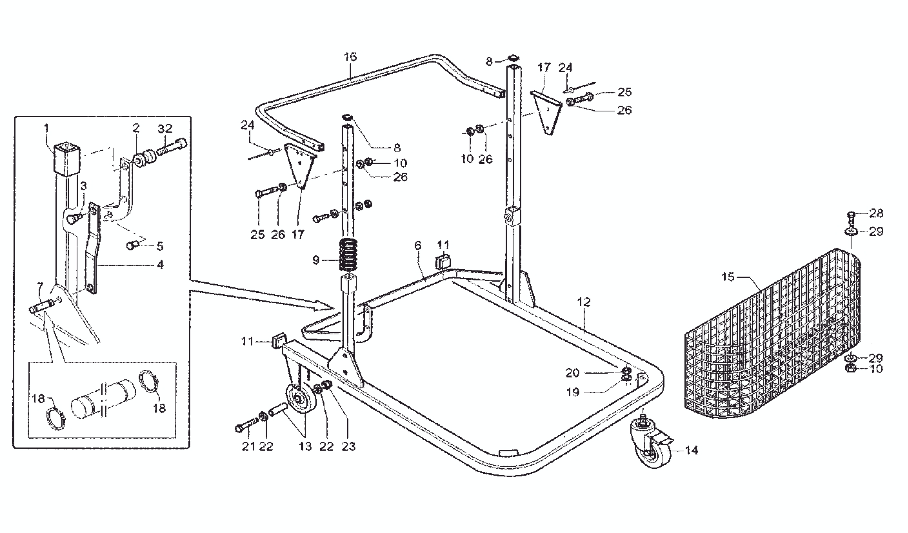
To purchase parts for the CAV 16 Vacuum (Frame Assembly):
- Reference the part needed from the parts diagram and refer to the parts list below.
- Copy the Part Number and paste it into the search window above to see availability and pricing.
- Confirm your parts selection and "Add To Cart".
Item | Part Number | QTY | Description | Item | Part Number | QTY | Description | |
1 | 836000 | 2 | TUBE SLIDING CAV 16 | 16 | 818300 | 2 | HANDGRIP CAV 16 | |
2 | 814028 | 2 | BUSHING CAV 16 | 17 | 8182999005 | 2 | BRACKET CAV 16 | |
3 | 814084 | 2 | PIN CAV-26 | 18 | 4 | RETAINING RING 8MM (5/16) | ||
4 | 814085 | 2 | LINK CAV 16 | 19 | 980648 | 2 | WASH-17/32 ID X 1&1/16 OD PLN | |
5 | 814087 | 2 | PIN CAV-26 | 20 | 920936 | 2 | NUT M 12 DIN 934 | |
6 | 814054 | 1 | LEVER CAV 16 | 21 | 80315A | 2 | SCREW M10 X 65 HHC | |
7 | 814083 | 2 | PIN CAV 16 | 22 | 229044 | 4 | WASHER, o 10 | |
8 | 840034 | 2 | PLUG | 23 | 80223A | 2 | NUT M10-1.5 NYLOCK | |
9 | 814135 | 1 | SPRING CAV 16 | 24 | 83002A | 8 | RIVET-1/4 DIA X .490 POP | |
10 | 920607 | 10 | NUT M8X1.25 BRIGHT ZC DIN 934 | 25 | 98456A | 8 | SCREW M8 X 50 HEX HD CAP | |
11 | 840035 | 2 | PLUG CAV 26 | 26 | 229102 | 16 | WASHER, o 8 | |
12 | 8360619005 | 1 | CART CAV 16 | 28 | 80314A | 2 | SCREW M8 X 65 HHC | |
13 | 840581 | 2 | WHEEL CART CAV-26 | 29 | 980205 | 4 | WASHER .312 ID/1.06 OD/.075THK | |
14 | 840582 | 2 | CASTER CART CAV-26 | 32 | 964030 | 2 | SCR M 8.0X1.25X 35 SOC ST | |
15 | 816060 | 1 | BASKET CAV-26 |