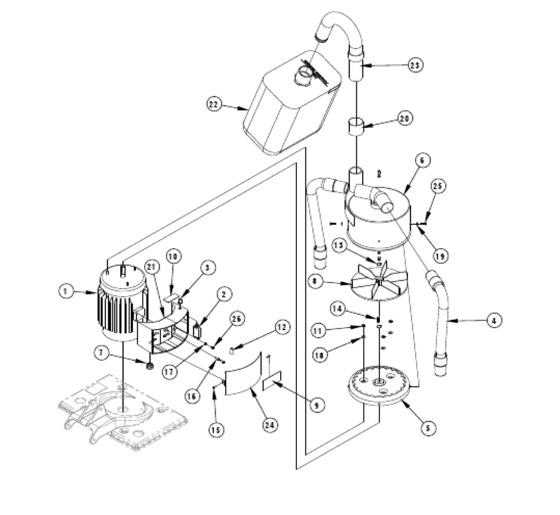
To purchase parts for the Clarke OBS-18 DC (Motor Assembly):
- Reference the part needed from the parts diagram and refer to the parts list below.
- Copy the Part Number and paste it into the search window above to see availability and pricing.
- Confirm your parts selection and "Add To Cart".
Item | Part Number | QTY | Description | Item | Part Number | QTY | Description | |
1 | 56382885 | 1 | MOTOR1HP 115V/60 HZ OBS-18DC | 7 | 51523A | 1 | BUSHING STRAIN RELIEF | |
AS018100 | 1 | SWITCH, START, 115V, 40A, 165 CUTOUT | 8 | 54765A | 1 | IMPELLER OBS-18 DC | ||
41311A | 1 | CAPACITORRUN25MFD 370V | 9 | 77195A | 1 | DECAL-UL WARNING | ||
41312A | 1 | CAPACITOR START 400-480MFD125V | 10 | 77234A | 1 | LABELWARNINGHEAVY OBJECT | ||
1 | 1 | MOTOR 1HP 115V/60 HZ OBS-18DC | 11 | 81217A | 3 | NUT 1/4-20 X .218H NYLOCK | ||
56380670 | 1 | SWITCH-STARTER 40A 115V | 12 | 170667 | 1 | CONNECTORWIRE NUT 74B-YELLOW | ||
41311A | 1 | CAPACITORRUN25MFD 370V | 13 | 797301 | 2 | RING SNAP- 5/8 AXLE | ||
41312A | 1 | CAPACITOR START 400-480MFD125V | 14 | 915044 | 1 | KEY 3/16 X 3/16 X 1 | ||
1 | 44673A | 1 | MOTOR 1HP 230V/50HZ | 15 | 962727 | 2 | SCREW 8-32X 1/2 PN ST TP23 PH | |
47378A | 1 | SWITCH MOTOR STARTING CLASSI | 16 | 962822 | 2 | SCR 1/4-20 X 5/8 BT ST SOC | ||
41313A | 1 | CAPACITORRUN12MFD 240V | 17 | 980603 | 1 | WASHER LK 10 EXT TOOTHPLTD | ||
41314A | 1 | CAPACITORSTART137MFD 240V | 18 | 980646 | 3 | WASHER 1/4 SAE FLAT PLTD | ||
1 | 40753A | 1 | MOTOR 1HP 115/50 OBS-18DC | 19 | 980982 | 4 | WASHER 10 SAE FLAT PLTD | |
47378A | 1 | SWITCH MOTOR STARTING CLASSI | 20 | 56380336 | 1 | SEAL-DUST PIPE | ||
41313A | 1 | CAPACITORRUN12MFD 240V | 21 | 22906A | 1 | ENCLOSUREMTR STRPNTD OBS-18 | ||
41314A | 1 | CAPACITORSTART137MFD 240V | 22 | 53741A | 1 | BAG DUST OBS-18 | ||
2 | 56454538 | 1 | CIRCUIT BREAKER 15A | 23 | 61833A | 1 | TUBE DUST EXHAUST WLDMT | |
41419A | 1 | CIRCUIT BREAKER15A | 24 | 62667A | 1 | COVERENCLOSURE OBS-18 | ||
41418C | 1 | BREAKERCIRCUIT10AQD.25 SRT | 25 | 85383A | 4 | SCREW 10-32 X 3/4 PAN HD | ||
47709A | 1 | TERMINAL1/4 FIFQD 12-10 GA. | 26 | 85833A | 1 | SCREW MACHINE 10-32 TYPE 23 | ||
3 | 56459367 | 1 | BOOT RESET BUTTON E00585 | 27 | AS017502 | 1 | BRACKET, MOUNTING, START, SWITCH, PLATED | |
4 | 30407B | 2 | HOSE SQUEEGEE 17/20 | 28 | 85313C | 2 | SCREW 6-32 X 3/8 PAN HD | |
5 | 10478A | 1 | ASM. BLOWER HOUSING COVER**W/ INSERTS, GASKET & FELT WASHER** | 29 | 920056 | 2 | NUT-6X32 ELASTIC STOP | |
6 | 35242A | 1 | HOUSINGBLOWER OBS-18DC |